# Installation

The Trickline can be mounted vertically or horizontally. When mounting vertically the motor can be at the top or bottom, though we recommend putting the motor down just because it makes more sense to have the weight lower. When mounting horizontally, the beam can be up or down. In the end, the choice is yours based on the installation conditions.

## Required Tools <a href="#h.abdl09pvrqij" id="h.abdl09pvrqij"></a>

* 3/16” Hex Key (belt tensioning)
* 5/32” Hex Key (adjusting limits and mounting feet and Splice Connection)

## Mounting Feet <a href="#h.2kt5tlbgwwi7" id="h.2kt5tlbgwwi7"></a>

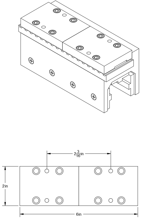
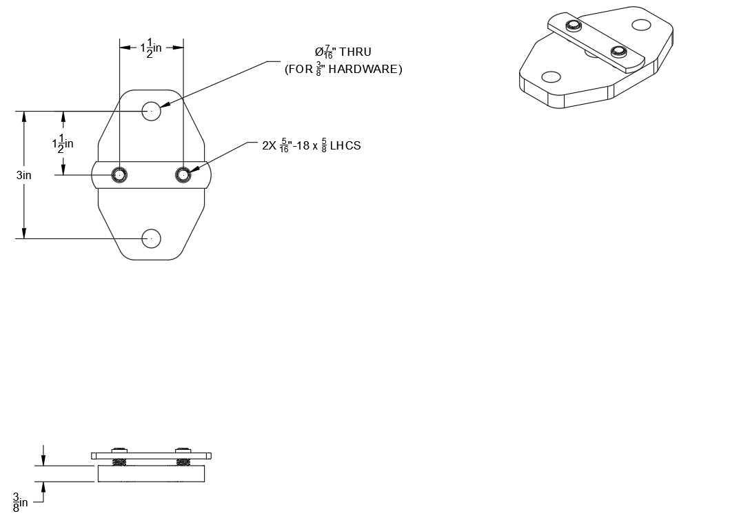
There are two mounting feet attached to your Trickline when you receive it. These can be adjusted by loosening the 5/16” cap screws with a 5/32” hex key. If the feet are sitting on the ground, your Trickline can either be bolted or lagged down. If your Trickline is in any other orientation, your attachments should be made with bolts. The holes in the mounting feet are drilled for 3/8” hardware.

<figure><img src="https://3040525219-files.gitbook.io/~/files/v0/b/gitbook-x-prod.appspot.com/o/spaces%2F-MhFI6SSKpm8M7EkrYqp%2Fuploads%2Fgit-blob-b5faff02c5d71afa3791737d4d770806ea5a289a%2Fimage16?alt=media" alt=""><figcaption></figcaption></figure>

## Adding An Extension <a href="#h.5iyuud2odezz" id="h.5iyuud2odezz"></a>

The max travel without a splice is 8’-8” - this is a 10’ beam minus the motor and belt pulley brackets. If 8’-8” isn’t quite enough travel, the Trickline can be spliced for up to 30’ of travel.

Let’s go through the steps of installing your extension. If you do not have an extension, skip to the Making The Connections section of this manual.

### What’s Included <a href="#h.j27vlf3ozy00" id="h.j27vlf3ozy00"></a>

* 6 - Splice Plates
* 18 - 5/16”-18 x 5/16” Set Screws
* 2 - Alignment Pins

To instal your extension, slide your 6 Splice Plates into each slot in your track.

<figure><img src="https://3040525219-files.gitbook.io/~/files/v0/b/gitbook-x-prod.appspot.com/o/spaces%2F-MhFI6SSKpm8M7EkrYqp%2Fuploads%2Fgit-blob-f5a5047d6e71dc7179967ed4bed67c4df6137cf4%2Fimage5?alt=media" alt=""><figcaption></figcaption></figure>

Next, insert your 2 Alignment Pins

<figure><img src="https://3040525219-files.gitbook.io/~/files/v0/b/gitbook-x-prod.appspot.com/o/spaces%2F-MhFI6SSKpm8M7EkrYqp%2Fuploads%2Fgit-blob-f530d0a51e4c0ee3ad1591cb17bcc7eff713c804%2Fimage9?alt=media" alt=""><figcaption></figcaption></figure>

PRO TIP: This is a great time to install the carriage on the beam.

Then, center your splice places so that you have 3 Set Screws on each piece of track for each Splice Plate and tighten your set screws with a 5/32” Hex Key.

<figure><img src="https://3040525219-files.gitbook.io/~/files/v0/b/gitbook-x-prod.appspot.com/o/spaces%2F-MhFI6SSKpm8M7EkrYqp%2Fuploads%2Fgit-blob-4ac84ab27983e5dfd7b2791ddbe7fcf6c07180f1%2Fimage6?alt=media" alt=""><figcaption></figcaption></figure>

Lastly, Clamp your belt to the carrier on your Trickline.

<figure><img src="https://3040525219-files.gitbook.io/~/files/v0/b/gitbook-x-prod.appspot.com/o/spaces%2F-MhFI6SSKpm8M7EkrYqp%2Fuploads%2Fgit-blob-c98fcf5d3f4c6bfaa50f4d1c3a02b88b5a1358c7%2Fimage10?alt=media" alt=""><figcaption></figcaption></figure>

## Installing the Belt <a href="#h.a9yyagoa23qb" id="h.a9yyagoa23qb"></a>

On a multiple section Trickline you’ll need to install the belt before you can make your scenery move. You can also use these steps if you need to replace a worn or damaged belt. If you have a single section machine skip ahead to the next section.

The Trickline uses a ¾” wide L series single sided timing belt and forms an endless loop once both ends are clamped to the carriage. The belt we use can be found from McMaster-Carr, part #1840K4 or any other supplier you choose.

First, remove the four ¼-20 SHCS holding each of the two belt clamps to the carriage exposing the teeth to capture the belt. Next, feed the belt through the center of the beam with the teeth UP. Carefully thread the belt under each keeper on both pulleys - if the belt is over any of the keepers there will be awful noise and terrible motion. While installing the belt you may find it easiest to remove the keepers from the motor end pulley, as that pulley is locked in place by the motor brake.

Pull enough belt through the motor end so you can easily work on the carriage. Confirm the belt is seated properly on the motor pulley and reinstall any keepers which were removed. Clamp the motor side of the belt to the carriage with the clamp plate and 4 bolts.

Confirm the belt is fully engaged on the return pulley and clamp the free end of the belt to the carriage with the 2nd clamp plate. You may need to loosen the jack bolts on the return pulley in order to make the connection.

Once both ends of the belt are connected, evenly re-tension the belt using the jack bolts and tighten the locking bolts in the cheek plates.

### &#x20;<a href="#h.dyykvvaba7j2" id="h.dyykvvaba7j2"></a>
